NL污水泥漿泵產品概述
本泵系單級單吸立式離心泵,主要部件有蝸殼、葉輪、泵座、泵殼、支撐筒、電機座、電動機等組成。蝸殼、泵座、電機座、葉輪螺母是生鐵鑄造、耐腐性、耐腐蝕性較好,加工工藝方便。
葉輪為三片單園弦彎葉,選用半封閉葉輪,并采用可鍛鑄鐵、所以強度高,耐腐蝕;加工方便,通過性好,效率高。
為了減輕重量和減少車削量、泵軸是良好碳素鋼冷拉園鋼制造。
泵座中裝有四只骨架油封和軸套,防止軸磨損,延長軸的使用壽命。
NL系列污水泥漿泵可垂直或傾斜使用,占地面積小,蝸殼需埋在工作介質中工作,容易啟動,不需弓I水,旋轉方向應從電機尾部看是順時針方向工作。
總機長度備有各種規格,以便使用單位根據用途因地制宜地選用。
NL污水泥漿泵主要用途
1、 NL型多用液下泵系單級單吸離心泵,使用于礦山,造紙、印染、環保、石墨、云母、黃金、陶瓷、煉油、石油、化工、農場、鹽場、碘場、染化、釀酒、食品、化 肥、焦化、選廠、建筑、大理石廠、金礦、泥漿、流沙、泥塘、污塘、污濁液送吸濃稠液、裝料及懸浮物質的污水作業,也可作礦排水及含有泥塊的流體。
2、若與高壓水泵,水槍配合,組成水力機械化土方工程機組,就可用作于土地平整,河道與池塘的疏浚、鑿開等小型水利工程的挖方與輸方,以及城市的防空工程,地下工程。
3、養魚用作帶水清塘、魚池增氧等。
NL污水泥漿泵使用須知
1、使用電源須是三相四線制,若無接地線,須加裝,以防漏電。工作時,須在就近裝有與電機相符的電路熔斷器和幵關,以防葉輪雜物卡死時燒壞電機。
2、本污水泵使用時可不必安裝任何基礎裝置即能運轉,只要斜靠牢固即可,必要時用繩索系牢以防意外。起動后須檢查電機旋轉方向,不得反轉超過一分鐘。
3、當被吸送的液體中含有較多的雜草、鐵絲、木條、磚塊等雜物時,須事先盡量清除掉、并可采取加放鐵絲籃等方法,防止雜物吸入泵內造成葉輪打壞,卡死和管道阻塞等事故。
4、泵體在吸泥及其他污濁物后應給予短期吸水,以便沖洗泵體及管道內部。
5、在露天工作時,電機應裝護罩,以防雨水等浸入電機。
6、在河底,池底吸泥宜吊掛在三腳架上,并可擱在浮筒或船上移動作業,在進行土方工程作業時,高壓水沖碎的土塊直徑不得大于吸入口三分之一。
7、本泵規定的轉速是泵的高轉速,不得任意提高;減低轉速使用不限,但功效顯著降低。
8、本污水提升泵在吸送厚泥,濃稠液體或高揚程,長距離輸送泥漿時,負荷降低,但不能用改變結構的方法來加大負荷。
9、一般運轉1250小時左右,進行泵的定期保養,拆卸泵座查看軸承,和泵的密封情況,清洗并更換黃油,必要時更換油封,軸套和其他零件。保養及更換零件的注意事項請見安裝。(采用機械密封運泵轉3500小時左右進行定期保養)。
10、當長期停止使用時,應將蝸殼拆幵,擦干零件并在相對運動接合表面涂以簿油,存放在干燥地方以備以后使用。
NL污水泥漿泵性能參數
NL污水泥漿泵是單級單吸立式(潛水)離心泵,其主要部件是蝸殼,葉輪,泵座,泵殼,支撐缸,馬達座,馬達等。NL污水泥漿泵的蝸殼,泵座,電機座和葉輪螺母均由鑄鐵制成,具有很好的耐蝕性和耐蝕性,加工工藝方便。NL污水泥漿泵是單圓弧形葉片,半封閉葉輪和可鍛鑄鐵,因此具有很高的強度和耐腐蝕性。它易于加工,具有高通過性,并且效率很高。
NL污水泥漿泵的泵軸由良好碳素鋼冷拔鋼制成,以減輕重量和旋轉。泵座上裝有四個骨架油封和一個軸套,以防止軸磨損并延長軸壽命。
NL污水泥漿泵可以垂直或對角使用。占地面積小,渦流必須掩埋在工作介質中。易于啟動,不需要水。旋轉方向應從電動機的尾部順時針旋轉。配電盤的長度有各種規格,可以根據當地情況選擇。
NL污水泥漿泵適用范圍
1、不銹鋼泥漿泵系單級單吸離心泵,使用于礦山、造紙、印染、環保、石墨、云母、黃金、陶瓷、煉油、石油、化工、農場、鹽場、碘場、染化、釀酒、食品、化肥、焦化選廠、建筑、大理石廠、金礦、泥漿、流沙、泥塘、污塘、污濁液送吸濃漿稠液、裝料及懸浮物質的污水作業,也可作煤礦排水及含有泥塊的流體。
2、若與高壓水泵,水槍配合,組成水力機械化土方工程機組,就可用作于土地平整,河道與池塘的疏浚、鑿開等小型水利工程的挖方與輸方,以及城市的防空工程,以下工程。
3、NL型污水泥漿泵養魚用作帶水清塘、魚池增氧等.
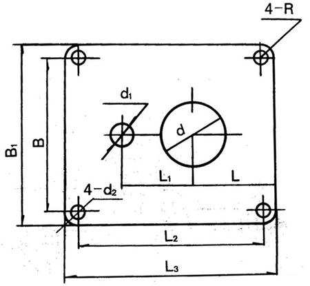
NL污水泥漿泵安裝尺寸圖


型 號 | 泵 長 度 L (毫米) | ||||||||||
NL150-12 NL150A-12 NL150-16 NL150A-16 | 650 | 1300 | / | / | / | / | / | / | / | / | |
NL50-8 NL50A-8 NL50-12 NL50A-12 NL76-9 NL76A-9 | 470 | 1120 | 1620 | 2120 | 2620 | 3120 | 3620 | 4120 | 4620 | 5120 | 3620 |
NL65-16 NL165A-16 NL80-12 NL80A-12 | 710 | 1190 | 1910 | 2410 | 3130 | 3630 | 4350 | 4850 | 5570 | 6070 | / |
NL100-16 NL100A-16 | 710 | 1190 | 1940 | 2440 | 3190 | 3690 | 4440 | 4940 | 5690 | 6190 | / |
型號/代號 | L | L1 | L2 | L3 | B | B1 | d | d1 | 4-d2 | 4-R | δ |
NL25-10 | 180 | 120 | 350 | 400 | 280 | 330 | 72 | 40 | 13 | 25 | 6 |
NL50-8 | 255 | 230 | 590 | 650 | 490 | 550 | 215 | 70 | 18 | 30 | 8 |
NL80-9 NL50-12 NL76-9 | 255 | 230 | 590 | 650 | 490 | 550 | 258 | 80 70 70 | 18 | 30 | 10 |
NL65-16 NL80-12 NL50-24 | 255 | 285 | 690 | 750 | 590 | 650 | 175 | 70 110 70 | 18 | 30 | 12 |
NL100-16 NL100A-16 | 380 | 350 | 920 | 1000 | 820 | 900 | 226 | 115 70 | 18 | 40 | 14 |







